Witaj, mamy wszystko czego szukasz!

Tylko dzisiaj! Darmowa dostawa za zakupy za minimum 200 zł.

Zarejestruj się, aby mieć dostęp do historii zamówień

Stempel Digima do prasy krawędziowej TYP AMADA 800x150x35 4 segmenty o L=3200mm, nacisk: do 300T

Stempel Digima do prasy krawędziowej TYP AMADA 800x150x35 4 segmenty o L=3200mm, nacisk: do 300T

Prezentujemy najwyższej klasy stempel górny marki Digima, zaprojektowany z myślą o najbardziej wymagających operacjach gięcia na prasach krawędziowych pracujących w systemie mocowania Amada. Narzędzie to jest dedykowane do maszyn o dużym nacisku, sięgającym 300 ton, co czyni je idealnym wyborem dla zakładów produkcyjnych stawiających na najwyższą wydajność oraz precyzję wykonania elementów grubościennych. Stempel został wykonany z wyselekcjonowanej stali narzędziowej T8A, która charakteryzuje się doskonałą odpornością na zmęczenie materiału oraz wyjątkową stabilnością wymiarową pod dużym obciążeniem.

Kluczowym elementem podnoszącym żywotność narzędzia jest proces wysokoczęstotliwościowego hartowania indukcyjnego krawędzi roboczej. Dzięki temu zabiegowi, nosek stempla osiąga twardość na poziomie HRC 45 plus minus 2 stopnie, co gwarantuje długotrwałe zachowanie precyzyjnej geometrii oraz minimalizuje ryzyko pęknięć lub tępienia się ostrza podczas pracy z twardymi arkuszami blach. Narzędzie jest dostarczane w systemie segmentowym, co pozwala na tworzenie linii gięcia o długości 3200 milimetrów (składającej się z 4 odcinków po 801 milimetrów). Każdy segment jest precyzyjnie szlifowany, aby błąd na stykach nie przekraczał 0,05 milimetra, co zapewnia idealnie prostą linię gięcia na całej długości detalu.

Pasuje do prasy PBH-300x3200 i innych o zbliżonych wymiarach

Pełna specyfikacja techniczna i parametry konstrukcyjne

Pełna specyfikacja techniczna i parametry konstrukcyjne

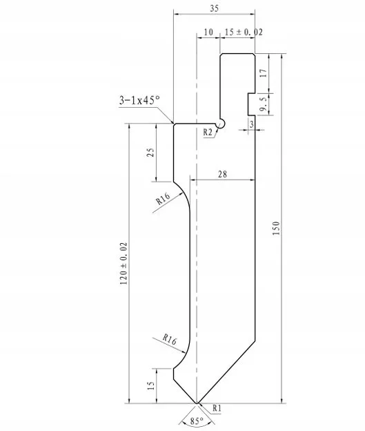
Poniżej znajduje się kompletne zestawienie danych technicznych stempla wynikające bezpośrednio z dokumentacji projektowej:

Wymiary geometryczne i robocze:

  • Wysokość całkowita narzędzia: 150 milimetrów.
  • Wysokość funkcjonalna (od płaszczyzny bazowej do osi gięcia): 120 plus x
  • minus 0,02 milimetra.
  • Szerokość górnej części stempla (barków): 35 milimetrów.
  • Szerokość korpusu narzędzia: 28 milimetrów.
  • Szerokość w przewężeniu profilu: 25 milimetrów.
  • Kąt ostrza stempla: 85 stopni.
  • Promień zaokrąglenia noska roboczego: R 1 milimetr.

Parametry mocowania i profilu:

  • Wymiar standardowego mocowania Amada: 15 milimetrów plus minus 0,02 milimetra.
  • Szerokość wypustu mocującego: 10 milimetrów.
  • Wymiary gniazda zabezpieczającego: wysokość 9,5 milimetra przy głębokości podcięcia równej 3 milimetry.
  • Pozycjonowanie gniazda: odległość 17 milimetrów od górnej krawędzi stempla.
  • Promienie konstrukcyjne profilu: główne łuki o promieniu R 16 milimetrów oraz promienie pomocnicze R 2 milimetry.
  • Wykończenie krawędzi: fazowanie typu 1 na 45 stopni wykonane w trzech punktach profilu narzędzia.
Standardy wykonania i tolerancje

Standardy wykonania i tolerancje

  • Obróbka cieplna: hartowanie wysoką częstotliwością ostrza do twardości HRC 45 plus minus 2 stopnie.
  • Dokładność połączeń: błąd na złączach segmentów przy pracy w zestawie (wymienność grupowa) jest poniżej lub równy 0,05 milimetra.
  • Tolerancje geometryczne: błąd równoległości oraz prostopadłości narzędzia utrzymany w granicach poniżej lub równych 0,05 milimetra.
  • Wykończenie krawędzi czołowych: wszystkie krawędzie na stykach sekcji, poza krawędzią tnącą, posiadają zaokrąglenie o promieniu R 0,5 milimetra.
  • Konfiguracja zestawu: długość całkowita 3200 mm realizowana przez 4 segmenty po 800 milimetrów każdy.

*zdjęcia mają charakter poglądowy, a zdjęcie główne ukazuje sam kształt narzędzia w przekroju jak na rysunku technicznym, bez długości), natomiast z boku zdjęcie przedstawia przykładową wizualizację takiego segmentu w rzeczywistości

Dbamy o twoją prywatność

Ciasteczka, czyli niewielkie dokumenty tekstowe, wykorzystywane są przez witryny internetowe, aby poprawić efektywność korzystania z nich przez użytkowników.

Zgodnie z prawem, zezwala się na zapisywanie ciasteczek na urządzeniu użytkownika tylko wtedy, gdy są one kluczowe dla działania danej strony. W przypadku innych typów ciasteczek, wymagana jest zgoda użytkownika.

Nasza strona wykorzystuje różnorodne ciasteczka, w tym te dostarczane przez zewnętrzne serwisy, które są obecne na naszym portalu.

Dostosuj zgody
Twoje wybory dotyczące prywatności
W tym panelu możesz wyrazić swoje preferencje związane z przetwarzaniem Twoich danych osobowych. Możesz przejrzeć i zmienić wyrażone wybory w dowolnym momencie, wyświetlając ten panel ponownie za pomocą podanego łącza. Aby odmówić zgody na określone czynności przetwarzania opisane poniżej, wyłącz przełączniki lub użyj przycisku „Odrzuć wszystko” i potwierdź, że chcesz zapisać swoje wybory.
Koszyk
Brak produktów w koszyku
Suma częściowa:
0,00 zł
0,00 zł netto