Witaj, mamy wszystko czego szukasz!

Tylko dzisiaj! Darmowa dostawa za zakupy za minimum 200 zł.

Zarejestruj się, aby mieć dostęp do historii zamówień

Stempel Digima do prasy krawędziowej TYP AMADA 800x150x26 4 segmenty o L=3200mm, nacisk: 160T

Stempel Digima do prasy krawędziowej TYP AMADA 800x150x26 4 segmenty o L=3200mm, nacisk: 160T

Prezentujemy wysokiej klasy stempel górny marki Digima, zaprojektowany do precyzyjnego gięcia blach na prasach krawędziowych pracujących w systemie mocowania Amada. Narzędzie to charakteryzuje się wyjątkową uniwersalnością, będąc w pełni kompatybilnym z maszynami o nacisku roboczym 160ton . Wykonanie z wysokogatunkowej stali narzędziowej T8A zapewnia doskonałą stabilność strukturalną oraz odporność na pękanie pod wpływem wysokich obciążeń.

Zestaw o łącznej długości 3200 milimetrów składa się z 4 precyzyjnie wykonanych segmentów o długości 800 milimetrów każdy. Kluczowym elementem podnoszącym trwałość stempla jest proces hartowania indukcyjnego krawędzi roboczej o wysokiej częstotliwości, co pozwoliło uzyskać twardość na poziomie HRC 45 plus minus 2 stopnie. Dzięki temu nosek stempla zachowuje swoją pierwotną geometrię przez tysiące cykli gięcia, zapewniając idealną powtarzalność kąta. Precyzyjnie szlifowany nosek o kącie 85 stopni i promieniu R 0,5 milimetra umożliwia realizację gięć o najwyższej jakości estetycznej.

Pasuje do prasy PBH-160x3200 i innych o zbliżonych wymiarach

Pełna specyfikacja techniczna i parametry konstrukcyjne

Pełna specyfikacja techniczna i parametry konstrukcyjne

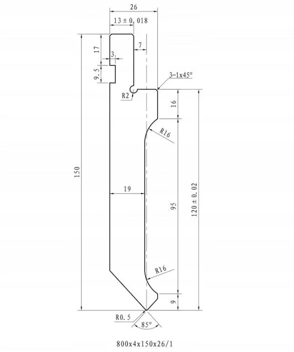
Poniżej znajduje się kompletne zestawienie danych technicznych stempla wynikające bezpośrednio z dokumentacji projektowej:

  • Długość zestawu: 3200 milimetrów (4 segmenty po 800 milimetrów).
  • Wysokość całkowita narzędzia: 150 milimetrów.
  • Wysokość funkcjonalna (płaszczyzna bazowa do osi gięcia): 120 plus minus 0,02 milimetra.
  • Szerokość całkowita stempla: 26 milimetrów.
  • Szerokość korpusu w sekcji roboczej: 19 milimetrów.
  • Wymiar mocowania górnego: 13 plus minus 0,018 milimetra.
  • Kąt ostrza stempla: 85 stopni.
  • Promień zaokrąglenia noska roboczego: R 0,5 milimetra.
  • Wymiary gniazda zabezpieczającego: wysokość 9,5 milimetra przy głębokości podcięcia 3 milimetry.
  • Pozycjonowanie gniazda: odległość 17 milimetrów od górnej krawędzi oraz przesunięcie osiowe o 7 milimetrów.
  • Promienie konstrukcyjne: łuk przy gnieździe R 2 oraz łuki profilu korpusu o promieniu R 16.
  • Fazowanie krawędzi: fazowanie typu 1 na 45 stopni wykonane w trzech punktach profilu.
  • Sekcje pionowe profilu: górny odcinek prosty 16 milimetrów, boczna sekcja o długości 95 milimetrów oraz stopka dolna o wysokości 9 milimetrów.
  • Tolerancje: błąd równoległości oraz prostopadłości narzędzia poniżej lub równy 0,05 milimetra.
  • Dokładność połączeń: błąd na złączach segmentów poniżej lub równy 0,05 milimetra.
  • Wykończenie krawędzi czołowych: krawędzie na stykach sekcji (poza ostrzem) posiadają zaokrąglenie o promieniu R 0,5 milimetra.
Standardy wykonania i tolerancje

Standardy wykonania i tolerancje

  • Obróbka cieplna: hartowanie wysoką częstotliwością ostrza do twardości HRC 45 plus minus 2 stopnie.
  • Dokładność połączeń: błąd na złączach segmentów przy pracy w zestawie (wymienność grupowa) jest poniżej lub równy 0,05 milimetra.
  • Tolerancje geometryczne: błąd równoległości oraz prostopadłości narzędzia utrzymany w granicach poniżej lub równych 0,05 milimetra.
  • Wykończenie krawędzi czołowych: wszystkie krawędzie na stykach sekcji, poza krawędzią tnącą, posiadają zaokrąglenie o promieniu R 0,5 milimetra.
  • Konfiguracja zestawu: długość całkowita 4000 mm realizowana przez 5 segmentów po 800 milimetrów każdy.

*zdjęcia mają charakter poglądowy, a zdjęcie główne ukazuje sam kształt narzędzia w przekroju jak na rysunku technicznym, bez długości), natomiast z boku zdjęcie przedstawia przykładową wizualizację takiego segmentu w rzeczywistości

Dbamy o twoją prywatność

Ciasteczka, czyli niewielkie dokumenty tekstowe, wykorzystywane są przez witryny internetowe, aby poprawić efektywność korzystania z nich przez użytkowników.

Zgodnie z prawem, zezwala się na zapisywanie ciasteczek na urządzeniu użytkownika tylko wtedy, gdy są one kluczowe dla działania danej strony. W przypadku innych typów ciasteczek, wymagana jest zgoda użytkownika.

Nasza strona wykorzystuje różnorodne ciasteczka, w tym te dostarczane przez zewnętrzne serwisy, które są obecne na naszym portalu.

Dostosuj zgody
Twoje wybory dotyczące prywatności
W tym panelu możesz wyrazić swoje preferencje związane z przetwarzaniem Twoich danych osobowych. Możesz przejrzeć i zmienić wyrażone wybory w dowolnym momencie, wyświetlając ten panel ponownie za pomocą podanego łącza. Aby odmówić zgody na określone czynności przetwarzania opisane poniżej, wyłącz przełączniki lub użyj przycisku „Odrzuć wszystko” i potwierdź, że chcesz zapisać swoje wybory.
Koszyk
Brak produktów w koszyku
Suma częściowa:
0,00 zł
0,00 zł netto